作者简介:李伟皓,男,1975年生,硕士,主管技师,主要从事医学检验工作。
探讨血友病A患者总体止血能力(OHP)、总体凝血能力(OCP)、总体纤溶能力(OFP)的异常改变,研究血浆FⅧ∶C水平与OHP、OCP、OFP的相关性。
方法测定不同FⅧ∶C血浆OHP、OCP及OFP,采用对数曲线回归分析及Pearson相关分析法分析血浆FⅧ∶C水平与OHP、OCP、OFP的相关性。检测38例血友病A患者及50名健康体检者血浆OHP、OCP及OFP,比较2组间3个参数的差异。
结果FⅧ∶C与OHP、OCP及OFP相关指数( r2)分别为:0.994 2、0.997 0、0.988 4, P<0.01;回归方程分别为: Y=1.508 6 ln( X) +2 .842 5, Y=1.769 7 ln( X) +5 .793 2, Y=-3.736 4 ln( X)+43.167,表明FⅧ∶C与OHP、OCP、OFP呈对数相关。血友病患者活化部分凝血活酶时间(APTT)及OFP明显高于正常对照组( P<0.01);OCP明显低于对照组( P<0.01)。
结论OHP、OCP及OFP可反映血友病A患者血浆FⅧ∶C水平高低,为血友病A诊断提供新的实验依据。
To investigate the abnormal change of overall haemostasis potential (OHP), overall coagulation potential (OCP) and overall fibrinolytic potential (OFP) in patients with hemophilia A, and observe the correlation of FⅧ∶C with OHP, OCP and OFP.
MethodsThe OHP, OCP and OFP were determined in plasma with different FⅧ∶C, and the correlation of FⅧ∶C with OHP, OCP and OFP was analyzed by the statistical method of logistic regression and Pearson correlation. OHP, OCP and OFP in 38 hemophilia A patients and 50 healthy controls were determined, and the difference of OHP, OCP and OFP between the 2 groups were compared.
ResultsThe correlation indices ( r2) between FⅧ∶C and OHP, OCP and OFP were 0.994 2, 0.997 0 and 0.988 4 ( P<0.01). The logistic regression equations were Y=1.508 6 ln( X)+2.842 5, Y=1.769 7 ln( X)+5.793 2 and Y=-3.736 4 ln( X)+43.167. The correlation of FⅧ∶C with OHF, OCP and OFP was logarithmic. The activated partial thromboplastin time (APTT) and OFP in hemophilia A group was higher than those in healthy controls( P<0.01), and OCP was lower than that in healthy controls( P<0.01).
ConclusionsOHP, OCP and OFP are well correlated with FⅧ∶C in the patients with hemophilia A and could be new parameters for the screening of hemophilia A.
血友病是常见的X连锁隐性遗传病。是由于血浆凝血因子Ⅷ (血友病A)或凝血因子Ⅸ (血友病B)缺乏而引起的以出血为主要临床表现的一组凝血障碍性疾病, 发病率为5/1 000 000, 无明显地区和种族差异。血友病A最为常见, 发病率约为血友病B的4倍[1]。其诊断主要根据反复出血史、家族史、临床体征和实验室检查。目前实验室检查方法主要为血浆活化部分凝血活酶时间(APTT)测定、凝血因子Ⅷ 抗原性/活性测定及基因诊断方法。1999年, He S等[2]将总体止血能力(overall haemostasis potential, OHP)、总体凝血能力(overall coagulation potential, OCP)与总体纤溶能力(overall fibrinolysis potential, OFP)3个试验指标用于综合评价机体凝血与纤溶能力, 并研究了其在部分血栓及出血性疾病中的诊断价值[35]。关于OHP、OCP及OFP对血友病A的诊断价值目前报道尚少, 我们进行了相关试验研究。
选取2006年7月~2008年11月河北医科大学第二医院门诊、住院血友病A患者及门诊健康体检者。血友病A患者38例, 均为男性, 年龄3~37岁, 平均年龄16.7± 10.6岁。有明确家族史者29例, 散发家系9例。病例选择标准参照血友病A国内诊断标准[6]。正常对照50名, 均为男性, 年龄10~48岁, 平均年龄23.4± 13.2岁。2组年龄差异无统计学意义(P> 0.05)。
凝血因子Ⅷ 活性(FⅧ ∶ C)测定所需标准血浆、乏因子FⅧ 血浆及APTT试剂购自美国IL公司。组织型纤溶酶原激活物(tissue plasminogen activator, t-PA)购自德国Boehringer Ingelheim公司。凝血酶购自广东庆鸿药业有限公司。ACL-9000全自动凝血分析仪购自美国IL公司。Multiskan Ascent酶标仪购自美国Thermo公司。
1. 标本采集
空腹条件下抽取正常对照组及血友病A组患者的静脉血2.7 mL, 置于含109 mmol/L枸橼酸钠0.3 mL的一次性抗凝管中, 300 0 r/min(离心半径17.5 cm)离心20 min, 分离血浆。-70℃保存。
2. 不同FⅧ ∶ C血浆的配制
将乏FⅧ 血浆与FⅧ ∶ C为116%的标准血浆按一定比例混合, 分别配制成FⅧ ∶ C为1%、5%、10%、15%、20%、30%、50%、70%、90%的混合血浆。1h内进行OHP、OCP及OFP测定。
3. APTT测定
ACL-9000全自动凝血分析仪采用一期法测定APTT。
4. FⅧ ∶ C测定
ACL-9000全自动凝血分析仪采用一期法测定FⅧ ∶ C, 结果以百分率表示。
5. OHP、OCP及OFP测定
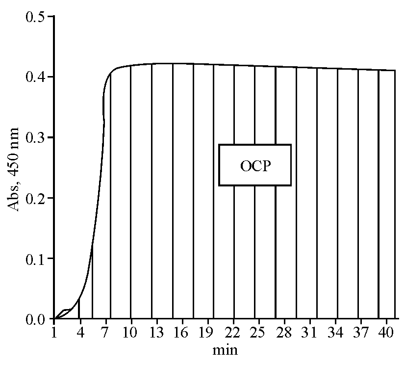
OHP、OCP及OFP测定参照He S等[2]建立的方法。OCP检测液含0.019 mmol/L凝血酶及35 mmol/L CaCl2的Tris缓冲液(66 mmol/L Tris, 130 mmol/L NaCl, pH值7.0)。OHP检测液为含660 ng/mL u-TPA的OCP检测液。60 μ L待检血浆分别与50 μ L OCP检测液及50 μ L OHP检测液置于不同微孔中, 振荡混匀。Multiskan Ascent酶标仪记录405 nm波长下吸光度值A, 每2 min记录1次, 连续记录40 min, 以时间(min)为横坐标, A为纵坐标绘制吸光度变化曲线(OCP及OHP曲线), 计算反应曲线内总A值, 即得出OCP及OHP值。OFP按下式计算:OFP=(OCP-OHP)/OCP× 100%。OHP、OCP及OFP测定如图13所示。
所有数据均为计量资料以 
FⅧ ∶ C与OHP、OCP及OFP相关指数(r2)分别为:0.994 2、0.997 0、0.988 4, P值均小于0.01; 回归方程分别为:Y=1.508 6 ln(X)+2.842 5, Y=1.769 7ln(X)+5.793 2, Y=-3.736 4 ln(X)+43.167, 表明FⅧ ∶ C与OHP、OCP、OFP呈对数相关(图4)。
血友病患者APTT及OFP明显高于正常对照组(P< 0.01); OCP明显低于对照组(P< 0.01)。见表1。
表1 血友病组与正常对照组APTT、FⅧ ∶ C、OHP、OCP及OFP比较( ± s) |
在生理情况下, 机体内凝血与抗凝系统处于动态平衡状态, 这种动态平衡一旦被破坏, 即可引起机体凝血或抗凝功能异常。目前, 凝血酶原时间(PT), APTT、凝血酶时间(TT)等实验指标被广泛用于止血及血栓性疾病的筛查。但这些指标只能反应凝血过程中某一阶段的异常, 并不能反映机体总的止血能力[7]。1995年, Hemker 等[8]建立了内源性凝血酶能力(endogenous thrimbin potential, EPT)测定方法, 用于评价机体凝血平衡。该实验采用组织因子(TF)和磷脂混合物来全面激活凝血过程, 可以反映机体血栓前状态和凝血障碍。但该方法以凝血酶生成为监测点, 只能反映凝血酶生成以上阶段的凝血功能, 并不能反映凝血的全过程(如纤维蛋白原转变为纤维蛋白), 也没有包括纤溶过程, 不能反映机体总体止血功能[9]。1999年He S等建立了OHP测定方法, 该方法在低浓度凝血酶(0.04 IU/mL)及t-PA存在的情况下, 同时激活凝血及纤溶过程, 监测纤维蛋白形成和降解过程中反应物A 405nm变化, 获得OHP曲线, 计算OHP曲线内总A值, 即为OHP值。若仅以低浓度凝血酶激活凝血过程, 通过监测纤维蛋白形成过程中反应物A 405nm变化, 获得OCP曲线, 计算OCP曲线内总A值, 即为OCP值。该实验过程中, 低浓度凝血酶并不能直接激活纤维蛋白原转化为纤维蛋白, 而是通过激活FⅤ 、Ⅶ 、Ⅷ , 从而启动及加速血液凝固[10]。本研究结果显示, OHP及OCP均与标本FⅧ ∶ C呈对数正相关(r2分别为0.994 2与0.997 0, P< 0.01)。证明低浓度凝血酶对凝血过程起启动及放大作用, 而并不直接激活纤维蛋白原。OCP与OHP随FⅧ ∶ C的规律性变化说明这2个指标有望成为评价机体FⅧ ∶ C水平的试验指标, 为血友病A的诊断提供新的试验依据。
OFP是反映机体纤溶能力的指标。本研究表明OFP水平与FⅧ :C呈对数负相关(r2=0.988 4, P< 0.01), 且血友病A患者OFP明显高于正常对照组(P< 0.01)。这是由于缺乏FⅧ 血浆中FⅧ 活性低, 低浓度凝血酶激活FⅧ 的量较正常血浆低, 在测定OHP过程中, 产生的凝血酶减少, 使纤维蛋白的产生量降低。在t-PA浓度一定的情况下, OFP反而升高[11]。另一种学说认为, 由于OHP测定过程中乏FⅧ 血浆生成凝血酶减少, 引起凝血酶激活的纤溶抑制物(thrombin activatable fibrinolysis inhibitor, TAFI)产生量减少, 从而表现为纤溶活性增强[12]。至于哪种学说能正确解释这一结果, 目前尚无定论。
根据出血史、家族史及实验室检查对血友病A进行诊断并不困难。目前, APTT测定及FⅧ ∶ C测定是诊断血友病最常用的实验。随着分子生物学技术的发展, 血友病A的基因诊断及产前诊断已成为可能[13]。但目前尚无能精确反映血友病A患者出血风险的实验室指标[14]。Hojima等[15]发现部分血友病A患者FⅧ ∶ C降低(< 1%), APTT异常延长, 但并无出血体征出现。Aleksandra Antovic曾报道2名FⅧ ∶ C< 1%, 临床无明显症状的血友病A患者, 其OHP仅轻度降低[6]。由于OHP除与机体FⅧ 活性有关外, 尚与其他凝血因子活性及纤溶酶原活性有关, 因而OHP可反映人总体止血能力, 从而反映机体病理情况下的出血风险。本研究显示血友病A患者OCP、OHP较正常对照组低, 说明血友病A患者由于体内FⅧ 缺乏而使凝血及止血能力减低。至于OCP、OHP、OFP是否可作为准确评估血友病A患者出血风险的试验指标, 以及在用作血友病A筛查指标时是否比APTT更为敏感, 尚需进一步研究证实。
The authors have declared that no competing interests exist.
| [1] |
|
| [2] |
|
| [3] |
|
| [4] |
|
| [5] |
|
| [6] |
|
| [7] |
|
| [8] |
|
| [9] |
|
| [10] |
|
| [11] |
|
| [12] |
|
| [13] |
|
| [14] |
|
| [15] |
|

± s)