作者简介:王运铎,男,1965年生,学士,副主任技师,主要从事临床微生物检验工作。
建立一种利用毛细管电泳(CE)从混合细菌标本中快速、选择性检测金黄色葡萄球菌的方法,以适应快速病原学诊断的要求。
方法在电泳缓冲液中加入抗金黄色葡萄球菌特异性抗体包被的乳胶粒子,改变金黄色葡萄球菌的电迁移性质,达到目的菌与其他细菌分离的目的。
结果该方法能在20 min内从大肠埃希菌、铜绿假单胞菌和肺炎克雷伯菌的混合物中分离出金黄色葡萄球菌;通过对加入金黄色葡萄球菌的健康志愿受试者粪便标本不同时间流出组分的培养证实了方法的可靠性。
结论抗体包被胶乳结合CE检测方法是一种快速的金黄色葡萄球菌检测技术,有进一步开发利用的价值。
To develop a rapid method to detect Staphylococcus aureus ( S. aureus) from complex bacterial samples by capillary electrophoresis (CE) in order to meet the need of rapid diagnosis of infectious disease.
MethodsBy background buffer added with S. aureus specific monoclonal antibody-coated latex, electromigration trait of S. aureus was changed and separation of target bacteria was achieved by CE.
ResultsS. aureus could be selectively isolated from complex bacterial mixture containing Escherichia coli, Pseudomonas aeruginosa and Klebsiella pneumoniae in 20 min. Stool sample from a healthy volunteer a.pngicially spiked with S. aureus was subjected to analysis. Bacteria eluted out at different time were collected and then cultured by traditional methods. The results showed that the developed method was reliable.
ConclusionsCE coupled with antibody-coated latex method is a rapid S. aureus detection strategy and valuable for further development and application.
食源性疾病是个世界性问题, 与此疾病相关的细菌中最突出的是金黄色葡萄球菌[1]。对于腹泻患者的粪便标本, 传统培养法检测比较费时, 不能满足快速诊断的要求。其他技术, 如聚合酶链反应(PCR)、核酸芯片等, 操作过程复杂, 费用高, 很难应用于临床的常规检测[2, 3]。毛细管电泳(capillary electrophoresis, CE)技术具有标本用量少、分离效率高、速度快等优点, 在生物标本的分离分析中的运用日益普遍。虽然CE的各种联用技术正在发展, 但利用区带电泳技术(CZE)从混合标本中分离和鉴定特定的细菌还具有一定的挑战性。本研究建立了一种单克隆抗体包被的乳胶颗粒缓冲体系结合CE技术从混合标本中快速检测金黄色葡萄球菌的方法, 并通过对实际标本的检测证实了该方法的可靠性。
1.主要仪器和试剂 CE仪为美国Beckman P/ACE MDQ系统, 配有紫外(UV)检测器。抗金黄色葡萄球菌的小鼠IgG单克隆抗体包被的乳胶为法国bioMé rieux产品, 能特异性识别金黄色葡萄球菌的A蛋白。融熔的石英毛细管柱(内径100 μ m) 由河北永年光纤厂提供, 试剂用水由Millipore纯水系统产生。聚环氧乙烷(PEO, 相对分子质量600 000)为Acros公司产品。三羟甲基氨基甲烷(Tris)、硼酸和乙二胺四乙酸(EDTA)为美国Milwaukee公司产品。丙烯酰胺(AA)、四甲基乙二胺(TEMED)、过硫酸铵(APS)和γ -甲基丙烯酰氧丙基-三[甲氧基]硅烷(γ -MAPS)购于Sigma 公司。
2.菌株 大肠埃希菌(ATCC 25922)、金黄色葡萄球菌(ATCC 25923)、铜绿假单胞菌(ATCC 27853)和肺炎克雷伯菌(ATCC 700603)由大连市临床检验中心提供。
1.缓冲液和毛细管柱制备 涂层毛细管根据参考文献[4]制备。8× 缓冲液用去离子水配置(4.5 mmol/L Tris, 4.5 mmol/L硼酸和0.1 mmol/L EDTA), 使用时稀释到1× 缓冲液, 并加入PEO室温搅拌6 h, 使其终浓度达到0.012 5%, NaOH (0.1 mmol/L)调整缓冲液pH值。缓冲液使用前过0.45 μ m滤膜过滤。
2.细菌培养和标本制备 本研究中的细菌培养物均培养于普通营养肉汤, 35 ℃有氧培养24 h后3 000 r/min(离心半径为17.5 cm)离心5 min, 弃上清。沉淀物用0.85%无菌生理盐水洗3次, 再转移到缓冲液中, 旋涡混旋器充分混匀。光学显微镜检查, 确认标本无大颗粒状聚集。抗体包被的乳胶也用无菌生理盐水洗3次, 再分散到缓冲液中。
3.区带电泳UV分离检测 分离毛细管柱长为27 cm。进样前, 先以超纯水1.4 MPa压力冲洗0.5 min, 再用缓冲液冲洗2 min。进样条件为34 483 Pa压力进样10 s。分离条件为-15 kV, 柱温25 ℃, 检测波长214 nm。
4.实际标本的检测 收集1 g新鲜粪便, 用0.85%的无菌生理盐水溶解清洗2次后, 低速离心去沉渣。标本用直径约10 μ m无菌尼龙膜过滤后, 加入新鲜培养的金黄色葡萄球菌(终浓度约6× 109cfu/mL)。细菌混合液经3 000 r/min(离心半径为17.5 cm)离心5 min后收集菌体, 用新鲜配置的缓冲液稀释到终体积为1 mL, 同样的标本不加金黄色葡萄球菌作为阴性对照。
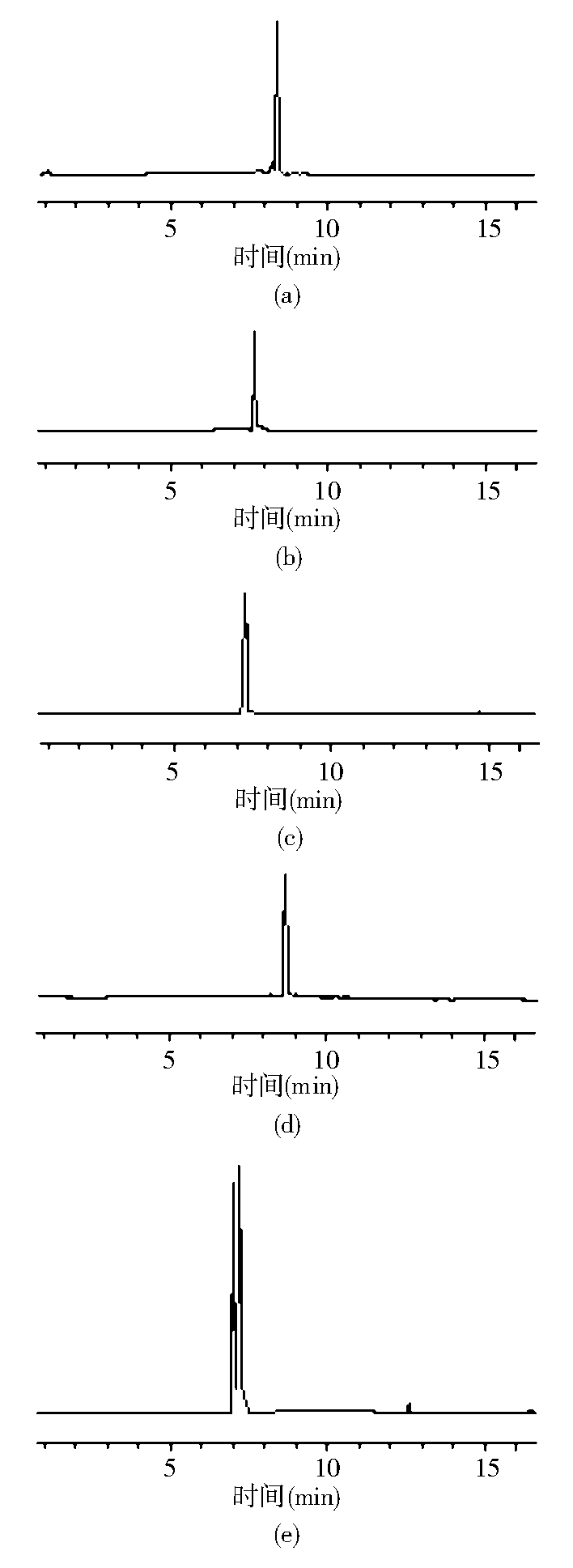
金黄色葡萄球菌、大肠埃希菌、铜绿假单胞菌和肺炎克雷伯菌分别用bioMé rieux (法国) DENSIMAT浊度计调至悬液浊度到4.0 麦氏单位, 约1.2× 109 cfu/mL。4种细菌单独分离(各3次)结果见图1。肺炎克雷伯菌、铜绿假单胞菌和大肠埃希菌的迁移时间分别是8.4[相对标准偏差(RSD)= 5.9%]、7.8 (RSD=1.7%)和7.2 min (RSD=2.2%)。金黄色葡萄球菌大约是8.8 min(RSD=1.6%)。通常革兰阴性菌比革兰阳性菌带有更多负电荷, 所以金黄色葡萄球菌(革兰阳性)的保留时间比其他菌(均为革兰阴性)要稍长一些, 但从图1e可以看出, 即便如此, 仍然不足以提供足够的分离度使金黄色葡萄球菌能够很容易地被区分出来。4种细菌混合后, 电泳图中出现的是丛集在一起的峰。
金黄色葡萄球菌和其他3种细菌混合, 每种细菌的终浓度均为6× 109 cfu/mL。抗体包被的乳胶加入缓冲液中制成均质的混合液, 选择不同的酸碱度来确定最佳的分离条件。根据以往经验, 高pH值有利于细菌分离和加速他们的迁移速度, 但会对柱子涂层造成不利影响。所以, 选择pH值从8.0到10.0范围进行研究。结果显示, 在pH值8.5时可获得最佳分离效果, 有2个明显的峰出现, 见图2。
为了证实图2中峰的确切来源, 分别改用121 ℃高压灭菌后的缓冲液和经灭菌缓冲液冲洗的毛细管柱进行上述标本的分离并收集15 min前、后的流出组分。收集到的组分分别经过无菌肉汤增菌20 h, 然后分别同时接种5%绵羊血和伊红美蓝平板需氧培养16 h, 结果见图3。图3a为15 min前收集到的组分的增菌后的培养结果, 可见大部分生长的为大肠埃希菌(粪便中的主要菌), 血平板(左侧)中几乎没有溶血的菌落出现, 说明没有金黄色葡萄球菌被检出(血平板上生长的金黄色葡萄球菌应有明显的溶血现象)。而图3b中为15 min后收集到的组分增菌后的培养结果, 可见血平板中主要为有溶血现象的菌落生长, 而伊红美蓝平板没有明显生长的菌落, 表明没有大肠埃希菌(图略), 说明后流出的组分主要为金黄色葡萄球菌。
因为乳胶和细菌能以不同的比例结合, 因此需要对乳胶和细菌的合适比例进行定量表征。为此制备了一系列10倍稀释的细菌和乳胶悬液, 以确定最佳配比。当乳胶浓度为1.5× 107 cfu/mL时, 金黄色葡萄球菌浓度为1.5× 106~1.5× 1010 cfu/mL时, 能够实现最佳的定量检测。此时对金黄色葡萄球菌的最低检测限可达9.0× 105cfu/mL。通过分析纯培养的金黄色葡萄球菌(5个浓度范围, 均检测3次), 在细菌浓度1.5× 108~1.5× 1010 cfu/mL之间, 峰面积和细菌对数间具有良好线性关系(r2=0.9)。当乳胶浓度> 1.5× 109/mL时, 容易导致峰的裂分, 说明相对较低浓度的乳胶更适合分离。
细菌悬液可以看成是胶体溶液, 其粒子的电泳行为可用公式描述:μ = [ζ ε /(1.5η )]f(κ r), μ 为电迁移率, ζ 为ζ 电位, ε 为溶液介电常数, η 为溶液黏度, r为粒子半径, 双电层厚度1/κ 可表示为1/κ =0.304/
抗金黄色葡萄球菌单克隆抗体包被的乳胶为直径1 μ m左右的IgG包被的聚苯乙烯珠, 能与金黄色葡萄球菌特异结合, 其通常用于鉴定纯培养的金黄色葡萄球菌。我们推测由于乳胶粒子能选择性的黏附在对应的菌体上, 当乳胶和金黄色葡萄球菌结合在一起时, 他的迁移时间应会明显受到影响, 可能使其得到分离。图2中, 迁移时间在13.7 min的峰可能是细菌混合物, 16.3 min的峰可能是金黄色葡萄球菌和乳胶混合物。这个推测是建立在细菌和乳胶的复合物比自由细菌粒子可能受到更多的溶液阻力的基础之上。因为细菌和乳胶能以不同的比例结合, 所以不同结合形式的复合物可导致不同的出峰时间或峰的裂分, 他们能在较高pH值条件下被区分开, 但在相对低的pH值条件下, 则不易被分离, 因此pH值为8.5被认为是最佳的分离条件。从图2中我们还发现, 由于缓冲液成分的改变, 游离菌的迁移时间也发生明显改变, 在pH值为8.5时, 游离菌的迁移时间从8 min左右延长到14 min左右。原因可能是溶液中含有的乳胶颗粒移动速度慢, 阻碍了单体菌的迁移。
在健康成年人的粪便中, 需氧革兰阳性球菌和革兰阴性杆菌通常≤ 108 cfu/g, 在球菌中, 金黄色葡萄球菌通常≤ 105 cfu/g[6]。金黄色葡萄球菌小肠结肠炎是因为葡萄球菌在肠道中大量生长所致[7]。因此腹泻患者收集的粪便标本可简单处理后直接用该法分析。在食源性疾病的诊断中, 该方法的结果可作为食物中毒的快速处理依据之一。通常在金黄色葡萄球菌食物中毒事件中, 污染食物中的金黄色葡萄球菌可达3× 109 cfu/g[8], 恰在该方法的可检测范围内。如果有更多的抗体乳胶被采用, 本检测技术将会应用到更多的细菌快速检测中, 将会具有更广阔的应用前景。
The authors have declared that no competing interests exist.
| [1] |
|
| [2] |
|
| [3] |
|
| [4] |
|
| [5] |
|
| [6] |
|
| [7] |
|
| [8] |
|
