作者简介:吴炳坤,男,1958年生,主管技师,主要从事临床检验工作。
建立一种快速、准确、定量检测A组轮状病毒方法。
方法选择轮状病毒内壳蛋白基因作为A组轮状病毒的靶序列,设计合成引物和探针;与世界卫生组织(WHO)推荐的轮状病毒胶体金法平行检测,评价荧光定量逆转录聚合酶链反应(PCR)的敏感性与重复性。收集腹泻患儿粪便样本246份,并对其进行检测分析。
结果采用荧光定量逆转录PCR检测A组轮状病毒的敏感性为1.0×101拷贝/μL;246份粪便样本中检出A组轮状病毒68例(27.64%);胶体金法检出A组轮状病毒抗原阳性48例(19.51%)。
结论应用荧光定量逆转录PCR能够快速、准确检测A组轮状病毒,适合于大样本检测。
轮状病毒隶属呼肠孤病毒科轮状病毒属, 是一种双链RNA病毒, 是引起人和动物严重腹泻的最主要的病原之一。检测轮状病毒的方法, 如形态学观察、免疫学方法等, 存在检测敏感性低、需昂贵仪器、临床标本限制等缺点[1]。荧光定量聚合酶链反应(PCR)近年来发展迅速, 其价值得到广泛认可[2]。该技术通过实时监测PCR反应过程荧光信号的积累, 对样本中病毒核酸进行定量, 不仅具有较高的敏感性和特异性, 而且定量准确[3]。本研究拟采用TaqMan探针技术, 选择A组轮状病毒VP6基因作为靶序列, 建立了一种检测A组轮状病毒的荧光定量逆转录PCR检测方法, 为轮状病毒感染的准确、快速诊断提供一种新的技术手段。
1.样本来源 246份粪便样本来自2006年8月至2007年7月就诊于桐庐中医院腹泻患儿, 取0.5 g左右粪便置1.0 mL磷酸盐缓冲液(PBS)中, -70 ℃保存备用。
2.仪器及试剂 ABI7000实时荧光PCR仪(ABI公司); 引物及探针使用Primer Express软件(ABI)设计。RV-F:5'-GGATGTCCTGTACTCCTT-GTCAAAA-3', RV-R:5'-TCCAGTTTGGAACTCATT-TCCA-3', RV-P: 5'-FAM-ATAATGTGCCTTCGACAAT-3(MGB)。引物探针均在上海生工生物工程技术服务有限公司合成。RNA提取试剂盒购自Promega公司, 逆转录酶Superscript Ⅱ 购自Invitrogen公司, DNA消化酶及Taq酶等其他试剂均为Takara公司产品。A组轮状病毒诊断试剂盒胶体金法购自北京万泰生物药业有限公司。
1. 病毒RNA的提取 充分吹打混匀粪便样本后, 4 ℃下3 800 r/min(离心半径为9 cm)离心30 min, 取上清, 严格按照RNA提取试剂盒操作说明书提取总RNA并用DNA酶消化。
2. 逆转录反应 8 μ L总RNA于70 ℃变性10 min后立即冰浴; 加入50 ng/μ L随机引物1.0 μ L, 4种脱氧核糖核苷酸1.0 μ L, 逆转录缓冲液4.0 μ L, RNA酶抑制剂1.0 μ L, 二硫苏糖醇1.0 μ L, 逆转录酶1.0 μ L, 双蒸水3.0 μ L, 反应体系为20 μ L; 室温10 min, 42 ℃孵浴45 min, 85 ℃保温5 min , 4 ℃孵浴5 min。
3. 荧光PCR扩增 PCR反应扩增体系5.0 μ L; 25 mmol/L Mg2+ 7.0 μ L; 2.5 mmol/L 脱氧核苷三磷酸(dNTP)4.0 μ L; 10 μ mol/L上下游引物各为1.0 μ L; 10 μ mol/L TaqMan探针0.25 μ L; Taq酶1.25 U; 模板5.0 μ L; 加去离子水至50 μ L。PCR反应条件为94 ℃ 5 min, 94 ℃ 15 s 、60 ℃ 1 min, 共40个循环。
4. 定量标准质粒的制备 以上游引物、下游引物及逆转录产物cDNA模板进行PCR扩增, 将扩增产物纯化后连接到Pgem-T载体上, 并转化至JM-109感受态细胞中, 37 ℃培养过夜, 挑取单个菌落, 以上游引物和下游引物进行PCR筛选挑取阳性克隆, 再经测序验证。重组质粒采用DNA提取试剂盒提取。用紫外分光光度计定量后, 用含10 ng/mL鲑鱼精DNA的1× 三羟甲基氨基甲烷-乙二胺四乙酸(TE)缓冲液(pH值8.0)连续10倍稀释至浓度在1.0× 100~1.0× 109拷贝/μ L之间, 取5 μ L作为模板。
5. 胶体金检测 在金标板加样处滴加3~4滴粪便上清液, 平置于室温, 10 min内判断结果。
采用χ 2检测进行统计分析。
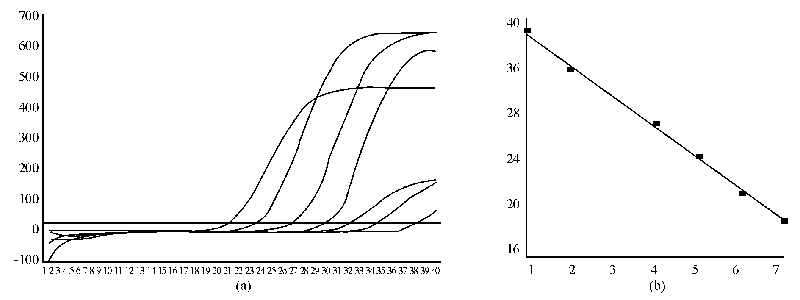
A组轮状病毒VP6基因在1.0× 101~1.0× 107拷贝/μ L之间与门槛循环阈值(CT值)之间具有良好的相关性, 相关系数为0.997 439; 表明此方法检测A组轮状病毒的敏感性为1.0× 101拷贝/μ L。将阳性梯度的模板浓度和对应的CT值进行标准曲线的计算, 标准曲线为Y=-3.156× lgX+41.665; 其中Y对应CT值; X为样本的拷贝数, 见图1。
取浓度为1.0× 103拷贝/μ L和1.0× 106拷贝/μ L的质粒DNA, 进行荧光定量逆转录PCR检测, 同时设置无模板空白对照, 共测定3次; 每次实验每个浓度设5个重复孔, 计算批内、批间差异, 从而对本方法检测的重复性进行考核。实验结果显示, 1.0× 103拷贝/μ L和1.0× 106拷贝/μ L 2个浓度的模板不同时间测定3次及同一时间5次重复实验结果的变异系数(CV)值均< 5%, 说明荧光定量逆转录PCR法检测的重复性较好。
246份样本中采用荧光定量逆转录PCR检出68例A组轮状病毒, 检出率为27.64%; 以拷贝数定量在2.47× 102~5.86× 106拷贝。采用胶体金法检出A组轮状病毒抗原阳性48例, 检测率为19.51%。荧光定量逆转录PCR检出率明显高于胶体金法, 差异具有统计学意义, (χ 2=4.55, P< 0.05), 见表2。
| 表2 荧光定量逆转录PCR与胶体金法检测A组轮状病毒比较 |
A组轮状病毒对儿童危害巨大, 预防轮状病毒感染的流行有着重要的意义。轮状病毒通过粪-口途径传播, 水源污染和食物污染均会引起流行。因此, 建立快速、简便的检测技术, 监测污染原中的微量病毒, 对于及时有效地监控食品卫生, 防止急性病毒腹泻流行, 保护人民健康有重要的意义[4]。
轮状病毒基因组由11个不连续的双链RNA节段组成, 分别编码6种结构蛋白(VP1~VP4、VP6和VP7)和5种非结构蛋白(NSP1-NSP5)。其中, VP6蛋白由病毒基因组第6节段编码, 是内层衣壳的主要成分[4]。不同轮状病毒株的VP6蛋白具有高度保守性。因此, 本研究选择以A组轮状病毒VP6基因为靶基因设计引物和TaqMan荧光探针, 建立了检测A组轮状病毒的荧光定量逆转录PCR。该方法的敏感性达1.0× 101拷贝/μ L, 线性相关系数达0.997, 具有较好的线性和较高的敏感性。通过对1.0× 103拷贝/μ L和1.0× 106拷贝/μ L 2个浓度的模板不同时间测定3次及同一时间5次重复实验, 结果表明组内与组间的CV值均< 5%, 说明本方法检测的重复性较好。
本研究采用荧光定量逆转录PCR检测246例腹泻患儿粪便样本A组轮状病毒, 检出率为27.64%。采用胶体金法检出A组轮状病毒抗原阳性检测率为19.51%。荧光定量逆转录PCR检测的阳性率明显高于胶体金法, 说明该法具有较高的敏感性。在实验中发现2例胶体金法检出A组轮状病毒抗原阳性, 而荧光定量逆转录PCR检测阴性。这种现象可能是由于粪便中的抗原及其他成分复杂, 与轮状病毒有交叉反应或使PCR反应受到抑制。另外, 也可能是由于轮状病毒出现变异, 导致荧光定量逆转录PCR无法检出, 具体原因还有待进一步研究。
综上所述, 本实验建立的荧光定量逆转录PCR能够快速、准确、特异、敏感地检测A组轮状病毒并进行定量分析, 适合于临床样本检测。
The authors have declared that no competing interests exist.
| [1] |
|
| [2] |
|
| [3] |
|
| [4] |
|
